
湖北考区各位考生:
按照财政部办公厅《关于调整2022年度全国会计专业技术初、高级资格考试考务日程安排及有关事项的通知》(财办会〔2022〕23号)要求,湖北省2022年度全国会计专业技术初、高级资格考试调整为2022年8月举行,考试采用无纸化方式。现就考试安排及有关事项公告如下:
一、考试时间
2022年度全国会计专业技术初级资格考试(以下简称初级资格考试)于8月1日至7日举行,《初级会计实务》科目考试时长为105分钟,《经济法基础》科目考试时长为75分钟,两个科目连续考试,时间不能混用。2022年度全国会计专业技术高级资格考试(以下简称高级资格考试)于8月7日举行。具体安排如下:

考生考试的详细批次、时间、地点以及参加考试的防疫要求以准考证上的信息为准。
二、准考证打印
考生应于2022年7月22日至28日期间,登录财政部“全国会计资格评价网”(网址:http://kzp.mof.gov.cn,下同),自行打印准考证。错过上述时段的,请于7月29日14时后上网进行补打。
三、成绩查询
初级资格考试成绩将于2022年9月10日前公布,高级资格考试成绩于2022年9月30日前公布。届时,考生可凭身份证和准考证号登录“全国会计资格评价网”查询。
四、退费申请
确因考试时间调整无法参加考试的考生,可登录“湖北省2022年会计专业技术初级资格考试退费申请”系统(网址:http://221.232.128.77:82/account-collect-client-hb/biz-apply-fund/login.html)申请退费,系统开放时间为2022年6月29日00:00:00至7月3日23:59:59。请用报名时所填写的手机号码完成身份认证,按照系统提示完成退费申请。逾期申请的,不再办理退费。
五、防疫要求
(一)考生现场体温检测须低于37.3℃,并凭疫苗接种记录、“健康码”绿码、通信行程卡、考前48小时内核酸检测阴性证明、身份证原件和准考证参加考试。此外,若通信行程卡带有*号,或近14天有省外旅居史的考生,须提供首场考试前3天内2次(2次采样间隔至少24小时,最后一次采样须在考点所在地医疗机构进行)核酸检测阴性证明。
(二)入场时间提前至开考前60分钟,考生除入场核验身份时按要求临时摘除口罩外,须全程佩戴口罩。进考场时,应主动出示相关证件材料,接受体温测量,有序排队,相互保持1米以上间距,配合入场核验。考生请勿提前入校“踩点”,考前各考点会张贴路线图和考场分布图,并有工作人员进行现场引导。
(三)我省考试疫情防控实行属地管理,一地一策,为保证考生自身权益,请及时登录省财政厅公众网和考试所在市州财政部门查看考试及疫情防控相关通知、公告,以免影响考试。
(四)本次考试实行健康承诺制,考生应承诺已知悉并符合省及所在市州考试疫情防控要求。如弄虚作假或隐瞒不报的按有关规定严肃处理,依法承担相关法律责任。
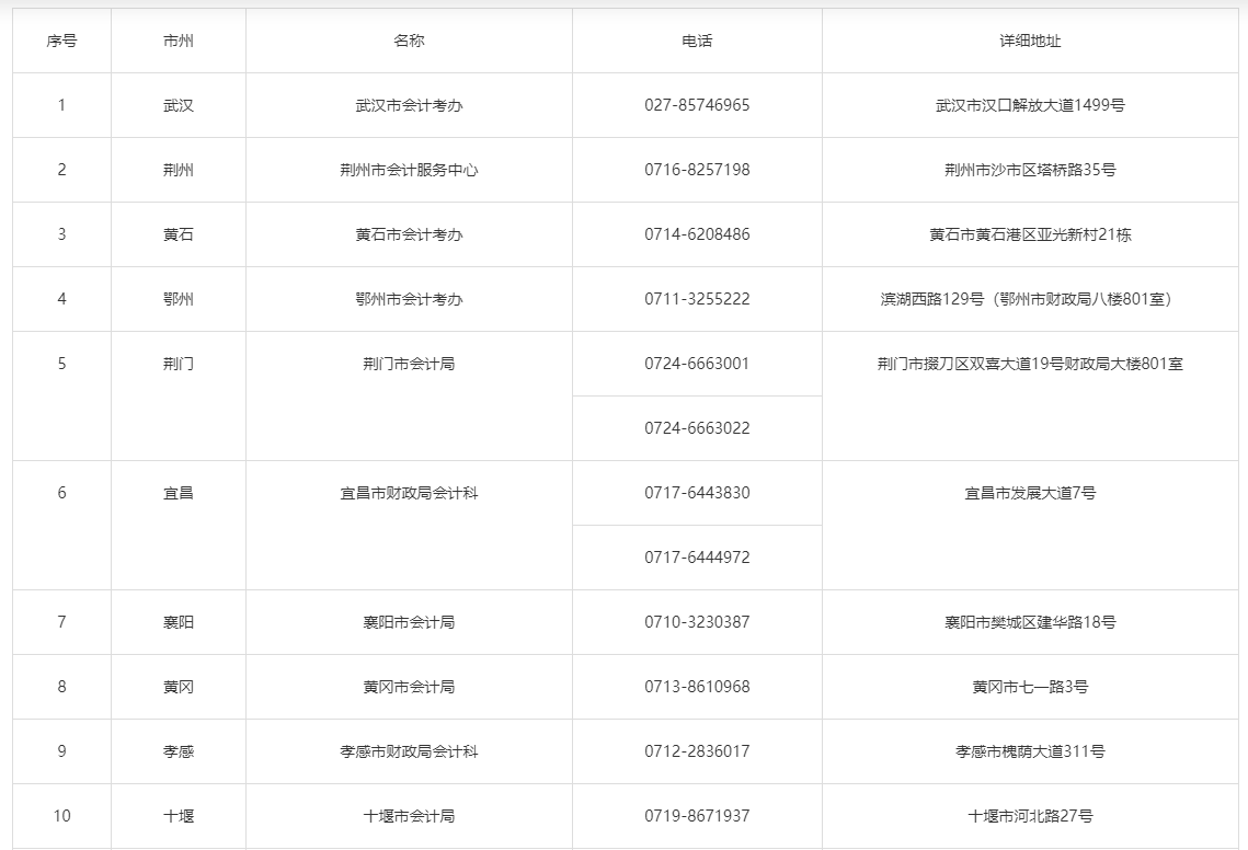
全省各市州财政部门会计资格考试管理机构联系方式

