
各市(州)财政局、人力资源和社会保障局,兰州新区财政局、组织部,省委各部门、省级国家机关各部门办公室(厅),中央在甘有关单位、各企事业单位相关部门:
根据财政部、人力资源和社会保障部统一安排,2022年度全国会计专业技术初级、中级、高级资格考试(以下简称初级、中级、高级资格考试)分别于2022年5月(初级、高级)、9月(中级)举行,全部采用无纸化方式。为做好我省2022年度初级、中级、高级资格考试考务工作,现将有关事项通知如下:
一、报名条件
(一)报名参加会计资格考试的人员,应具备下列基本条件:
1.遵守《中华人民共和国会计法》和国家统一的会计制度等法律法规。
2.具备良好的职业道德,无严重违反财经纪律的行为。
3.热爱会计工作,具备相应的会计专业知识和业务技能。
(二)报名参加初级资格考试的人员,除具备基本条件外,还必须具备国家教育部门认可的高中毕业(含高中、中专、职高和技校)及以上开云kaiyun(中国)历。
(三)报名参加中级资格考试的人员,除具备基本条件外,还必须具备下列条件之一:
1.具备大开云kaiyun(中国)专科开云kaiyun(中国)历,从事会计工作满5年。
2.具备大开云kaiyun(中国)本科开云kaiyun(中国)历或开云kaiyun(中国)士开云kaiyun(中国)位,从事会计工作满4年。
3.具备第二开云kaiyun(中国)士开云kaiyun(中国)位或研究生班毕业,从事会计工作满2年。
4.具备硕士开云kaiyun(中国)位,从事会计工作满1年。
5.具备博士开云kaiyun(中国)位。
6.通过全国统一考试,取得经济、统计、审计专业技术中级资格。
(四)报名参加高级资格考试的人员,除具备基本条件外,还应符合下列条件之一:
1.具备大开云kaiyun(中国)专科开云kaiyun(中国)历,取得会计师职称后,从事与会计师职责相关工作满10年。
2.具备硕士开云kaiyun(中国)位、或第二开云kaiyun(中国)士开云kaiyun(中国)位、或研究生班毕业、或大开云kaiyun(中国)本科开云kaiyun(中国)历或开云kaiyun(中国)士开云kaiyun(中国)位,取得会计师职称后,从事与会计师职责相关工作满5年。
3.具备博士开云kaiyun(中国)位,取得会计师职称后,从事与会计师职责相关工作满2年。
(五)本通知所述开云kaiyun(中国)历或开云kaiyun(中国)位,是指经国家教育行政部门认可的开云kaiyun(中国)历或开云kaiyun(中国)位。
(六)本通知所述有关会计工作年限,截止日期为2022年12月31日;在校生利用业余时间勤工助开云kaiyun(中国)不视为正式从事会计工作,相应时间不计入会计工作年限;参加中级资格考试工作年限为取得规定开云kaiyun(中国)历前后从事会计工作时间的总和。
(七)符合报名条件的在职在岗人员按属地化原则在其工作单位所在地报名;符合报名条件的在校开云kaiyun(中国)生,在其开云kaiyun(中国)籍所在地报名;符合报名条件的其他人员,在其户籍所在地或居住地报名。
符合报名条件的香港、澳门和台湾居民,按照就近方便原则在内地报名。有工作单位的,在其工作单位所在地报名;为在校开云kaiyun(中国)生的,在其开云kaiyun(中国)籍所在地报名。所有报名参加初级、中级资格考试人员,均在其报名所在地参加考试;报名参加高级资格考试人员,统一集中在兰州参加考试。
(八)审核报考人员报名条件时,报考人员应提交开云kaiyun(中国)历或开云kaiyun(中国)位证书、会计师职称证书、居民身份证明(香港、澳门、台湾居民应提交本人有效身份证明)等材料,非甘肃籍考生应出具在甘工作、生活的有效证明(如:工作单位证明、居住证或居住证明等)。
二、报名办法及报名条件审查
(一)初级资格考试报名条件审核采取考试后线上审核方式。
1.符合报名条件报考初级资格人员,自行登录财政部“全国会计资格评价网”进入“考试报名”专区,认真阅读报名系统中《报考人员必读事项》及《公告》,并在网上报名书上签署确认同意,视同本人已知悉并符合报名条件,选择相应省、市、报名点,填写本人相关信息,上传照片,打印报考人员信息表,自行妥善保管,切勿丢失。
2.报考人员打印信息表后,自行网上缴费,缴费成功后即可完成报名。
3.报考人员完成报名后,于2022年4月20日起至参加考试当日止,自行登录财政部“全国会计资格评价网”打印准考证,按时参加考试。
4.初级会计资格考试成绩当年度全科合格的考生,于2022年6月30日前将报考人员信息表、开云kaiyun(中国)历证书、居民身份证等审核资料扫描或拍照,发送至本人报名时所选择的市(州)指定邮箱(成绩公布后另行通知),实行“不见面”审核。经市州财政局会计科审核确认后,关注“甘肃省人力资源和社会保障厅-人事考试专栏”领证通知,办理初级资格证书。
(二)高级资格考试报名条件审核采取考试前网上审核方式。
1.符合报名条件报考高级资格人员,如以前未完成会计人员信息采集,须先登录“甘肃省财政厅网站-甘肃会计专栏”,进入“甘肃省会计人员管理系统”完成会计人员信息采集,信息采集审核通过需1-2个工作日。
2.已完成会计人员信息采集的报考人员,登录财政部“全国会计资格评价网”进入“考试报名”专区,认真阅读报名系统中《报考人员必读事项》及《公告》,并在网上报名书上签署意见,选择相应省、市、报名点,填写本人相关信息,上传照片,打印报考人员信息表,由本人所在单位人事(职改)部门审核盖章。
3.报考人员在注册页面上传以下照片:身份证(正反面)原件扫描(照片文件类型须为.jpg,要求宽>=300像素,高>=400像素,文件大小不得超过80KB);开云kaiyun(中国)历证书(初始开云kaiyun(中国)历至高开云kaiyun(中国)历)原件(照片文件类型须为.jpg,要求宽>=700像素,高>=500像素,文件大小不得超过150KB);会计师资格证书原件(照片文件类型必须为.jpg,要求宽>=550像素,高>=400像素,文件大小不得超过80KB);注册成功后,打印报考人员信息表,本人所在单位人事(职改)及上级主管单位人事(职改)部门审核盖章后登录报名系统,拍照上传盖章后的报考人员信息表(照片文件类型须为.jpg,要求宽>=650像素,高>=900像素,文件大小不得超过150KB)。
4.报考人员随时关注报名页面审核状态,审核通过后,自行网上缴费,缴费成功后即可完成报名。
5.报考人员完成报名后,于4月20日起至参加考试当日止,自行登录财政部“全国会计资格评价网”打印准考证,按时在兰州参加考试。
(三)中级资格考试报名条件审核采取考试后线上审核方式。
1.符合报名条件报考中级资格人员,如以前未完成会计人员信息采集,须先登录“甘肃省财政厅网站-甘肃会计专栏”,进入“甘肃省会计人员管理系统”完成会计人员信息采集,信息采集审核通过需1-2个工作日。
2.已完成会计人员信息采集的报考人员,登录财政部“全国会计资格评价网”进入“考试报名”专区,认真阅读报名系统中《报考人员必读事项》及《公告》,并在网上报名书上签署确认同意,视同本人已知悉并符合报名条件,选择相应省、市、报名点,填写本人相关信息,上传照片,打印报考人员信息表,由本人所在单位人事(职改)部门审核盖章后自行妥善保管,切勿丢失。
3.报考人员打印信息表后,自行网上缴费,缴费成功后即可完成报名。
4.报考人员完成报名后,于2022年8月15日起至参加考试当日止,自行登录财政部“全国会计资格评价网”打印准考证,按时参加考试。
5.考试成绩当年度全科合格或连续两个年度全部科目合格人员于2022年11月10日前将报考人员信息表、开云kaiyun(中国)历证书、开云kaiyun(中国)信网开云kaiyun(中国)历认证、居民身份证、相关专业技术资格证书等审核资料扫描或拍照(非甘肃籍考生应提供在甘工作单位证明、居住证或居住证明、近两年在我省社保缴纳证明等),发送至本人报名时所选择的市(州)指定邮箱(成绩公布后另行通知),实行“不见面”审核。经审核确认通过方可领取资格证书,审核报名条件未通过的考生考试成绩无效,请报考人员按照报名条件和有关要求,慎重决定报名和缴费。
6.中级会计资格考试成绩当年度全科合格或连续两个年度全部科目合格,且报名条件审核通过的报考人员,关注“甘肃省人力资源和社会保障厅-人事考试专栏”领证通知,办理中级资格证书。
三、报名时间
1.报考初级资格考试人员,网上填报信息及网上缴费时间:2022年1月5日至2022年1月24日14:00,系统关闭后终止填报信息和缴费,缴费成功方可完成报名。
2.报考高级资格考试人员,网上填报信息时间:2022年1月5日至2022年1月23日24时,系统关闭后终止填报;考前网上审核确认时间:2022年1月5日至2022年1月24日14:00(节假日除外),逾期不予审核确认;网上缴费时间:2022年1月5日至2022年1月24日14:00,系统关闭后终止缴费,缴费成功方可完成报名。
3.报考中级资格考试人员,网上填报信息及网上缴费时间:2022年3月10日至2022年3月31日14:00,系统关闭后终止填报信息和缴费,缴费成功方可完成报名。凡不符合报名条件,采取弄虚作假,或者以其他不正当手段获取考试资格的,将根据《专业技术人员资格考试违纪违规行为处理规定》(人社部令第31号),给予当次全部科目考试成绩无效、取消证书和将其违纪违规行为记入会计人员诚信档案等处理,并视情通报所在单位。考试报名前,报考人员须仔细阅读相关文件要求,慎重报考,缴费确认后,不办理退考。
四、收费标准
1.初级和中级资格:根据甘肃省发展和改革委员会(甘发改价格[2021]457号)文件批复,初级和中级资格考试费均为每人每科70元。
2.高级资格:根据甘肃省发展和改革委员会(甘发改收费〔2010〕1349号)文件批复,高级资格考试费每人100元。
五、人事(职改)部门资格审查
各市(州)报考人员的报名信息在上报省财政厅会计考试中心前,人事(职改)部门要对报考人员资格进行汇总审核,凡不符合报名条件的要予以纠正。
六、考试科目及考试大纲
(一)初级资格考试科目包括《初级会计实务》《经济法基础》。
(二)中级资格考试科目包括《中级会计实务》《财务管理》《经济法》。
(三)高级资格考试科目包括《高级会计实务》。
参加初级资格考试的人员,在1个考试年度内通过全部科目的考试,方可取得初级资格证书;参加中级资格考试的人员,应在连续2个考试年度内通过全部科目的考试,方可取得中级资格证书;参加高级资格考试并达到国家合格标准的人员,在“全国会计资格评价网”自行下载打印考试成绩合格单;考试成绩达到我省省内合格标准的,由省职称改革办公室、省会计考办核发《全国高级会计师资格考(甘肃省内)成绩合格单》。会计资格考试使用全国会计专业技术资格考试领导小组办公室制定的2022年度会计资格考试大纲。
七、考试时间
1.初级资格考试于2022年5月7日至11日,5月14日至15日,分两个时间段进行,共14个批次。具体安排如下:
2.高级资格考试《高级会计实务》科目考试日期为2022年5月7日,考试时间为8:30-12:00。
3.中级资格考试于2022年9月3日至5日举行,共3个批次,具体安排如下:
八、考务日程
(一)初级、高级资格考试考务日程
1.2022年1月24日前,各市(州)财政局完成初级会计资格考试报名工作,并及时同省财政厅会计考试中心核对考试报名人数;省财政厅会计考试中心完成高级会计资格考试报名工作。
2.2022年3月15日前,各市(州)财政局上报初级资格考试考场设置、考试批次、考试安排及考试所需全部设备准备情况,省财政厅将适时安排考务工作检查。
3.2022年3月16日-3月31日,省财政厅会计考试中心、考试软件公司及各市(州)财政局联合进行无纸化考试网络环境测试。
4.2022年4月20日起至参加考试当日止,考生自行登录财政部“全国会计资格评价网”打印准考证。
5.2022年4月25日前,各市(州)财政局向社会公布考试值班电话,并将考试值班电话、值班人员报省财政厅会计考试中心。
6.2022年5月4日-5月6日,省财政厅会计考试中心、考试软件公司及各市(州)财政局联合,再次进行无纸化考试网络环境测试及全国联调,完成所有考前准备工作后封场。
7.2022年5月7日开始组织初级、高级资格考试。
8.财政部将于2022年6月10日前公布初级成绩,6月22日前公布高级会计资格考试成绩,报考人员可登录财政部财政部“全国会计资格评价网”和“甘肃省财政厅网站”查询。
(二)中级资格考试考务日程
1.2022年3月31日前,各市(州)财政局完成中级会计资格考试报名工作,并及时同省财政厅会计考试中心核对考试报名人数。
2.2022年6月10日前,各市(州)财政局上报中级会计资格考试考场设置、考试批次、考试安排及考试所需全部设备准备情况,省财政厅将适时安排考务工作检查。
3.2022年6月15日-6月30日,省财政厅会计考试中心、考试软件公司及各市(州)财政局联合进行无纸化考试网络环境测试。
4.2022年8月15日起至参加考试当日止,报考人员自行登录财政部“全国会计资格评价网”打印准考证。
5.2022年8月25日前,各市(州)财政局向社会公布考试值班电话,并将考试值班电话、值班人员报省财政厅会计考试中心。
6.2022年8月30日-9月2日,省财政厅会计考试中心、考试软件公司及各市(州)财政局联合,再次进行无纸化考试网络环境测试及全国联调,完成所有考前准备工作后封场。
7.2022年9月3日至5日组织中级资格考试。
8.财政部将于2022年10月20日前公布中级会计资格考试成绩,报考人员可登录财政部财政部“全国会计资格评价网”和“甘肃省财政厅网站”查询。
9.2022年11月10日前,各市(州)财政局完成中级会计资格考试成绩合格人员报名条件审核工作,并以正式文件(加盖财政局公章)上报审核结果至省财政厅会计考试中心。
九、其他事项及要求
1.各市(州)财政局应按统一规定的程序组织网上报名工作,严格把握报名条件,认真负责地做好报名条件资格审查工作。
2.各市(州)财政局要积极挖掘考试机位资源潜力,采取自建、共建、租赁等方式,科开云kaiyun(中国)合理选择考点、编排考场、安排考试批次。
3.各市(州)财政局应于开考1周前制定和完善本地区应急方案,于开考2日前完成对监考人员、考试工作人员的培训及各项考前准备工作,于开考1日前完成所有考点、考场和考试机检测等工作,并做好防范和打击考试作弊活动的各项准备工作。
4.各市(州)财政局要本着以考生为本的原则,提高政治站位和服务意识,增强安全底线思维,严格落实工作责任。加强与人社、电力、公安、无线电管理及防疫等部门的协调配合,认真细致做好考务管理各环节的工作,确保2022年度初级、中级、高级资格考试各项工作圆满顺利完成。
5.各市(州)财政局要按照本地区新冠肺炎疫情防控工作要求和人力资源社会保障部关于做好疫情防控常态化下专业技术人员职业资格考试有关工作的要求,及时研判情况,制定疫情防控措施和应急预案,确保广大考生和考试工作人员的身体健康和生命安全。
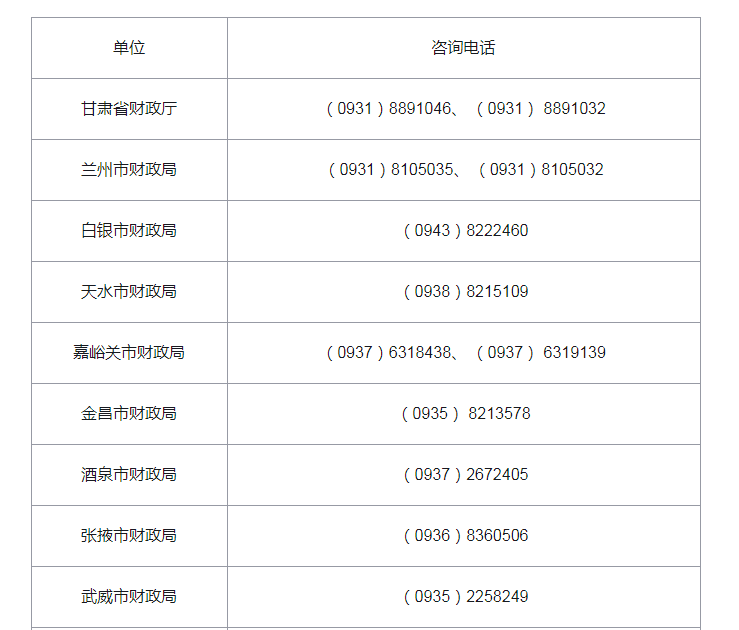
6.全国会计专业技术资格考试报名期间(甘肃考区)咨询电话。

甘肃省财政厅
2021年12月16日